|
|
|
|
|
|
|
Enigma Tree →
Last updated: 15 April 2023
The first patent for an Enigma machine, or at least something that
would eventually evolve into an Enigma machine, was filed by the
German inventor Arthur Scherbius in 1918
[1].
He worked in close collaboration with Hugo Alexander Koch
[2] from The Netherlands, who had also patented a cipher machine.
Koch's patents were later transferred to Scherbius' company.
It should be noted however, that the rotor machine machine was initially
invented in 1915 in The Netherlands by two Naval officers,
R.P.C. Spengler (1875-1955) and Theo A. van Hengel (1875-1939) [3].
Over the years, many aspects of the Enigma machine were patented in
Germany, but also in other countries, such as the USA, the UK,
France, Switzerland and The Netherlands.
Below is a list of known Enigma-related patents, both in Germany
and abroad. Although we have tried to be as complete as possible,
it is entirely possible that we have missed some.
If you know of any Enigma-related patent that is not listed here,
please contact us.
Click any of the patents below to download.
Please note that the patents are sorted by submission date
rhather than by number or publication date.
Thanks are due to Frode Weierud, Arthur Bauer and many others
for bringing some of these patents
to our attention and for their help putting them in context.
The ownership of certain patents is sometimes opaque.
Arhur Scherbius, who is known as the first patent holder for
an Enigma-like machine, initially traded under the name
Gewerkschaft Securitas of Berlin (Germany).
In 1927, Scherbius bought a similar patent (NL10700) from Hugo
Alexander Koch in The Netherlands who had setup a special company in 1922
to hold the patent: Naamloze Vennootschap Ingenieursbureau Securitas
in Amsterdam (Netherlands); two officially independant companies with
very similar names.
In some countries, patents were filed by the German Securitas 1 ,
whilst the same patent was filed in other countries by the
Dutch Securitas.
This was probably done to avoid claims that, following
WWI, Germany wasn't
allowed to develop and produce certain high-tech equipment
as part of the Versailles Treaty [4].
It is known that Dutch companies often acted as a cover for German
operations. In 1923, the German Gewerkschaft Securitas,
was succeeded by Chiffriermaschienen Aktiengesellschaft (AG),
commonly abreviated ChiMaAG.
Scherbius would never see the great success of his Enigma machine
as he died in a horse carriage accident in 1929. From then on,
the company was effectively led by its senior engineer Willy Korn,
in whose name many later patents were registered.
On the eve of WWII,
the company was succeeded by
Heimsoeth und Rinke (during WWII also known by the
manufacturer code 'jla').
During the war, the Enigma was produced by various manufacturers,
but any further patents were registered as secret, and were
probably lost towards the end of the war, in the ongoing bombings of Berlin.
As far as we know, none of the wartime patents have survived.
|
 |
-
Gewerkschaft Securitas was succeeded by
Chiffriermaschinen AG in July 1923.
|
- DE416219 / 23 February 1918
This is the first Enigma-related patent, filed by Arthur Scherbius,
issued 23 February 1918 and released on 8 July 1925.
It describes a cipher machine with electrically wired rotors, a keyboard with
electrical contacts for the input and light bulbs for the output.
- DE416833 / 2 June 1918
Supplement to patent DE416219 for the
use of tubes instead of
electric wires, to allow the machine to be driven by water, air
or oil, instead of electricity.
- DE387893 / 13 June 1920
Cipher machine with multiple alphabets (e.g. upper case, lower
case and numbers) using the letter 'j' to toggle between modes.
Filed by Scherbius and Ritter in Berlin.
- DE425147 / 26 Sep 1920
Patent for a cipher machine in which each key-press causes an irregular
movement of multiple cipher discs. The drawings show an early
concepts of a pneumatic cipher machine with drums for ciphering and
deciphering.
- DE378238 / 24 May 1921
Cipher machine for the conversion of number into letters and
vice versa, using a lamp panel for the output.
Filed by Arthur Scherbius in Berlin.
- DE409301 / 20 September 1921
Patent for a ciphering machine with a reduced number of contacts
(by introducing multiple shift keys), electrical coding wheels,
and a printer with a rotating drum. Filed by Securitas Berlin
(Germany). This patent is similar to US1584660.
- DE383594 / 12 February 1922
Patent for a ciphering machine with electrical coding wheels,
filed by Securitas Amsterdam (Netherlands). This patent was
also filed in other countries, e.g.
United Kingdom (GB193035),
USA (US1657411),
and France (FR561910).
- DE385682 / 10 May 1922
Patent for the use of a multi-switches to select between
substitution alphabets. Clearly related to the typewriter-style
Enigma machines, such as the Handelsmaschine.
Filed by Securitas Amsterdam (Netherlands).
- DE400795 / 18 Aug 1923
Patent for the use of two separate printers, one for the plain text
and one for the cipher text.
Filed by Securitas Amsterdam (Netherlands).
- DE411126 / 18 Aug 1923
Patent for the use of index rings (letter rings) on the cipher wheels
and on other parts of the turnover system, in order to set the message key.
Filed by Securitas Amsterdam (Netherlands).
- DE408949 / 9 September 1923
Brake-system for rotating print wheels.
Filed by Scherbius und Ritter in Wannsee (Germany).
- DE407804 / 18 Jan 1924
This patent is related to the Enigma A.
It describes a cipher machine with two electrically wired wheels.
Invented by Paul Bernstein. Filed by Chiffriermaschinen AG, Berlin.
This patents re-introduces the lamp panel that was described in the
initial patent of 1918.
- DE454392 / 30 Jan 1924
Patent for enhancing the irregular movement of the wheels during
encipherment, in order to increase cipher security, by allowing
a wheel to make multiple steps on a single key-press.
- DE425566 / 28 Feb 1924
Patent for allowing two different alphabets (letters and numbers/punctuation
marks) to be enciphered, using just the 26 letters of the telegraph alphabet.
This was done by replacing 'j' by 'i' and 'q' by 'k', and using the contacts
for 'j' and 'q' to select between letters and numbers.
- DE412582 / 25 March 1924
System for blocking the various cipher components after each key-press.
This should avoid a cipher wheel from making more than one step on a
single key-press.
- DE429122 / 26 March 1924
Patent for a cipher machine in which cog-wheels with a varying
number of teeth (prime numbers and numbers without a common factor)
are used to create a pseudo-random generator with a very long period.
This patent is clearly related to the design of the very first
Enigma model: Die Handelsmaschine,
introduced in 1923.
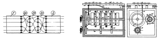
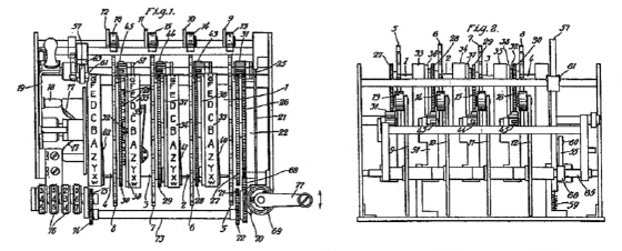
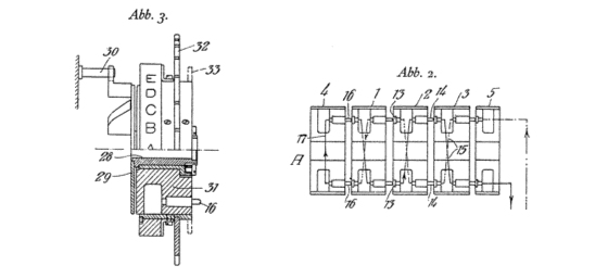
- DE460457 / 11 March 1926
This patent introduces the Umkehrwalze (UKW) and the
removable rotor-set, or drum, invented by Willi Korn.
It describes how the drum can be removed by using a lever
to shift the UKW aside. This was done
to allow the wheel order to be changed easily in the field.
It also claims that the top lid can only be closed when the
UKW lever is locked in position.
The UKW is a basic element for all
glowlamp Enigma machines.
- DE452194 / 21 March 1926
This patent further enhances the use of the Umkehrwalze (UKW),
invented by Willi Korn. It describes mounting of a fixed UKW in
multiple positions, setting the UKW to any of 26 positions,
and allowing the UKW to move during encipherment.
The latter was used in the Zählwerk Enigma.
- DE554421 / 31 January 1928
Patent for the addition of fixed user-rewirable wheels in between
the moving cipher discs. This allowed each user to alter the wiring
of the entire system and thus increase cipher security.
- DE534947 / 9 November 1928
First patent that shows the Zählwerk Enigma
(also known as Enigma G). Full description of the cog-wheel
mechanism and the fact that a crank can be used to correct
mistakes and/or as part of the key. The patent also claims
the use of a settable index ring (Ringstellung).
The word Zählwerk refers to the cog-wheel mechanism
as well as the counter.
- DE579555 / 17 November 1928
Further patent describing the Zählwerk Enigma.
This is actually an extension to patent DE534947.
It claims the use of multiple notches per wheel (e.g. prime numbers),
interchangeable index rings and the fixing of the notches to the
index ring. Both types of wheels (i.e. cog-wheels and notched wheels)
are described in detail.
- DE541702 / 30 January 1929
Patent for the use of electromagnets in a typewriter or
ciphering machine, in order to print a character on paper.
Invented by Arthur Scherbius and Willi Korn.
- DE524754 / 30 January 1929
Patent that describes the construction of a cipher machine in which
all keying elements are mounted on the same geometrical axis, making the
setting of a message key much simpler as before. This
includes both the electrical cipher discs and the gap-cog-wheels
that drive the cipher discs.
In previous systems a separate axle was used for each driving gap-cog-wheel.
This patent clearly describes the Enigma H29.
- DE550796 / 5 February 1929
Patent for the addition of extra switching wheels, outside both
fixed end-wheels, to allow easy selection between cipher,
decipher and plain text, without the need for large - expensive -
multi-pole switches.
- DE536556 / 22 June 1929
Patent for connecting a printing Enigma (Schreibende Enigma),
such as the H29,
to a lamp Enigma (Glühlampenmaschine)
so that it can be used as a printing device. Invented by Willi Korn.
The Enigma G111
is an example of a lamp-Enigma that was used this way.
- DE607638 / 5 March 1930
This patent clearly shows something that resembles the
numbers-only Enigma Z30.
A machine with 10 keys and 10 lamps.
The patent also claims that the letter-caps over the lamps can
be interchanged to provide an extra layer of encryption.
To our knowledge, the latter wasn't actually used.
- DE595075 / 4 November 1930
Supplement to patent DE536556.
Patent for a switching connector
inside the Enigma, allowing the lamps to be switched off when
a printer is connected. Invented by Willi Korn and Karl Röpke.
Enigma G111
is an example of a lamp-Enigma that was issued with this connector.
|
- GB163357 / 10 November 1919
Improvements in and relating to Ciphering and Deciphering Machine.
This patent is basically the British version of Koch's original
Dutch Patent NL10700.
- GB180653 / 1 May 1922 (priority 23 May 1923)
Electric Ciphering Apparatus. This patent is basically a copy of
Koch's second Dutch Patent NL12762.
- GB213968 / 8 January 1923
Ciphering Machine. Using multi-switches to select between subsitution
alphabets. This patent is similar to
German Patent DE385682 (19 May 1922)
and was filed by NV Securitas in Amsterdam (Netherlands). It is clearly
related to the printing Enigma machines.
- GB193035 / 3 February 1923
Patent for a chiphering machine, filed by
NV Ingenieursburo Securitas of Amsterdam (Netherlands).
This patent is identical to American patent
US1657411, which
was filed by Arthur Scherbius of Chiffriermaschinen AG.
- GB233407 / 5 February 1924
Electric Type Wheel Actions for Typewriting Machine.
Filed on behalf of Scherbius and Ritter of Berlin (Germany).
- GB231502 / 25 March 1925
Patent for improving ciphering machines by using multiple
ciphering discs and a complex irregular wheel turnover
pattern by using special drive wheels. Filed by
Chiffriermachinen AG of Berlin (Germany)
- GB267472 / 17 January 1927
Patent for the use of removable and interchangeable cipher
discs and a reflector. This patent clearly shows an Enigma
machine with three wheels and a fixed UKW. Filed by
Chiffriermaschinen AG of Berlin (Germany).
- GB343146 / 14 November 1929
British version of patent DE534947 and
DE579555 for the
Zählwerk Enigma (Enigma G) with some additions.
Filed on behalf of Chiffriermaschinen AG.
- GB325020 ???
This patent is mentioned on a shield that is mounted to the
rear of the Enigma Model H29.
However the patent is clearly not related to the Enigma in any way.
It is possible that this was a so-called abandonned patent,
that was re-issued by the patent authorities.
|
- US1533252 / 18 Sep 1920
This is the US-version of the original
Dutch Patent NL10700. It is filed by
NV Securitas in Amsterdam (Netherlands) and lists Hugo Alexander
Koch as the inventor.
- US1556964 / 20 April 1922
Patent for a simple ciphering machine allowing figures to be
converted into letters and vice versa, printing directly to
paper in a readable format. Filed by Arthur Scherbius on
behalf of Securitas Berlin (Germany).
- US1584660 / 7 December 1922
Patent for a ciphering machine with a reduced number of contacts
(by introducing multiple shift keys), electrical coding wheels,
and a printer with a rotating drum. Filed by Arthur Scherbius
on behalf of Securitas Amsterdam (Netherlands).
- US1657411 / 6 February 1923
First US patent that clearly resembles an Enigma machine,
filed in the US by Arthur Scherbius
on behalf of Chiffriermaschinen AG (Germany). Note that this
patent is identical to DE383594,
filed by Securitas Amsterdam (Netherlands)
and British patent GB193035, also filed by Securitas.
- US1520089 / 15 Feb 1924
Patent for an Electric Typewriting Machine and improvements of such
machines, filed on behalf of Arthur Scherbius.
This patent is used in the Enigma Model H29.
- US1777425 / 25 March 1925
This is the US version of German Patent DE429122
(26 March 1924). It is filed on behalf of Chiffriermaschinen AG
in Berlin (Germany) and lists Paul Bernstein as the inventor.
- US1705641 / 19 March 1929
Permuting Device for use in Coding Machines.
This is actually identical to DE460457 of 11 March 1926,
filed by Chiffriermaschinen AG in Berlin.
- US1938028 / 5 November 1929
This patent is the US version of German Patent DE534947
(9 November 1928).
The patent is related to the Zählwerk Enigma
and is filed on behalf of Willi Korn, who is also listed as
the inventor.
- US1905593 / 12 November 1929
This patent is the US version of German Patent DE579555
(17 November 1928).
The patent is filed on behalf of Willi Korn, who is also listed as
the inventor.
|
|
|
|
Any links shown in red are currently unavailable.
If you like the information on this website, why not make a donation?
© Crypto Museum. Created: Thursday 10 September 2009. Last changed: Wednesday, 10 December 2025 - 14:21 CET.
|
 |
|
|
|