|
|
|
|
|
|
|
Phone Voice Scrambler
Mechanical voice scrambler · 1919
- this page is a stub
Cryptophone 1 was one of the first practical implementations of a
voice scrambler
for telephone,
invented and patented in 1919 by the French Engineer Jules Carpentier 2
[1] and Eugène Poirson.
The device uses inversion of the frequency spectrum
by means of a motor-driven commutator.
Jules Carpentier (30 August 1851 - 30 June 1921) was a former student of the
prestigious École Polytechnique, the school for polytechnic engineering
in Palaiseau, a suburb of Paris (France) [5].
In 1878 he bought the Ruhmkorff workshops in Paris, and turned it into a
successful business for building electrical and magnetical devices [1].
Over the years, Carpentier patented a large number of inventions, mainly in
the field of photography, cinematography (film) and telegraphy (telex).
|
 |
-
This name is uncertain and was propably not registered, but we assume it to
be correct, as it was referred to as kryptofon,
Kryptophon and kryptofoon in Polish, German and Dutch news
articles of 1919 and 1920, in which the invention was announced [3][4].
Cryptophone would have been the French and English spelling.
-
In publications of 1919 [3] and 1929 [4], his name is erroneously spelled
as Charpentier. This is a common mistake and is often seen as an
alternative spelling for the same name. Furthermore, he was a polytechnic
engineer, not a physicist as suggested in the articles.
|
Thanks to Frank Dörenberg for bringing this device to our
attention [7].
In February 1919, Carpentier filed a patent for a for a secure telephony
device, in which a motor-driven commutator is used to reverse the current
of an audio signal 3340 times per second [4].
This technique, also known as chopping, introduces sidebands in
the frequency spectrum – one of which is reversed – and is basically the
mechanical equivalent of the diode-based electronic ring mixer.
The reversing of the audio frequency spectrum is also known as
voice inversion [6].
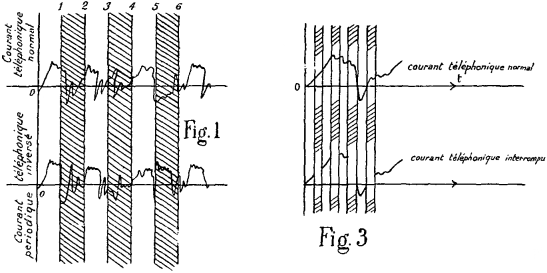
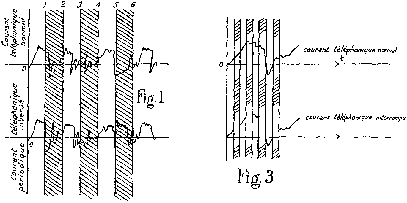
The above drawing from French Patent 522916
[2] illustrates
the chopping of the speech signal, which is subsequently sent over the
telephone line. At the remote end of the line, an identical commutator running
at the same speed (3340 Hz) — effectively another mixer — is used to make the
signal legible again. For this to work properly, it is important that the
commutators at both ends are synchronised.
In the patent, Carpentier shows a number of possible solutions for this.
The invention was announced internationally, such as in Poland in July
1919 [3] and in Germany and the Netherlands in February 1920 [4], but
it is unlikely that it became a successful product, as Jules Carpentier
unexpectedly died in a car accident the following year,
on 30 June 1921 [1].
|
- French Patent FR522916
Principe et procédés pour assurer l'etablissement de conversation téléphoniques
scrètes et dispositifs électriques en permettant la mise en oevre pratique.
Jules Carpentier and Eugene Poirson, 8 February 1919. 1
|
-
Filed: 8 February 1919. Granted 8 April 1921. Published 9 August 1921.
|
- Wikipedia, Jules Carpentier
Retrieved 24 May 2020.
- French Patent FR522916, ...conversation téléphoniques scrètes...
Jules Carpentier and Eugene Poirson, 8 February 1919.
- Joanna (redactor), Announcement of Kryptofon in Poland
Ilustrowany Kuryer Codzienny, 24 July 1919.
- Jan Corver, De kryptofoon
Radio Nieuws, Volume 2, 1 February 1920.
Page 45.
File obtained from NVHR via this link.
- Wikipedia, École Polytechnique
Retrieved 24 May 2020.
- Wikipedia, Voice inversion
Retrieved 24 May 2020.
- Frank Dörenberg, Personal correspondence
Received May 2020.
|
|
|
|
Any links shown in red are currently unavailable.
If you like the information on this website, why not make a donation?
© Crypto Museum. Created: Monday 25 May 2020. Last changed: Tuesday, 20 July 2021 - 20:03 CET.
|
 |
|
|
|